4G/5G工业路由器I210I2000I2100I2120I2200I2300I30004G工业路由器D2204G DTUI21055G RedCap工业路由器I2150I2250I2350I3500I500I5000I5100I5200I58005G工业路由器V3000V5000V6000车载路由器4G/5G无线CPE/MiFiC16C100C110C120C20EC21EC22C23ECG114G Cat.4 CPECM1264G Cat.6 CPEC50EC52CT525G CPEM9M56MG11U3MiFi&UFi无线路由核心模块IoT04IoT05IoT07IoT08Wi-Fi单频2.4G模块IoT09IoT15Wi-Fi双频2.4G&5.8G模块IoT18IoT19IoT60Wi-Fi 6双频2.4G&5.8G模块IoT23IoT24IoT274G通讯模组IoT265G通讯模组4G/5G室外CPEW2140W3400IX2404G室外CPEW3500W500W5000W5105G室外CPE室外无线APW2100Wi-Fi室外无线APW5800WL5000Wi-Fi 6室外无线APWL280WL290WL4800无线网桥室内无线APBL20吸顶无线APBL24BL80Wi-Fi 5吸顶无线APBL70BL5000BL90Wi-Fi 6吸顶无线APEL610EL620EL680EL990面板无线APAX3000M桌面路由器AC控制器/PoE交换机GL60GL260AC控制器SL41HSD1F1T-SFPSD1F2T-SFPSD2F4T-SFPSD2F8T-SFPSD5TSD8TPoE交换机MSD2F8T-SFPMSD4WF8TMSD4WF24TMSD6WF24F24T管理型交换机桌面路由器工业自动化数控机床设备监测智能油井远程监控天然气井站远程监控智慧工业自动售货机充电桩联网智能快递柜共享按摩椅智慧城市智慧电力智慧住宅智慧农村智慧办公智慧公园智慧场馆技术问答产品百科公司资讯行业动态新闻动态ComIn I210ComIn I2120ComIn I2000ComIn I2100ComIn I2105ComIn I2200ComIn I2300ComIn I3000ComIn I2250ComIn I2350ComIn I3500ComIn I500ComIn I5100ComIn I5200ComIn V5000ComIoT 04ComIoT 05ComIoT 07ComIoT 08ComIoT 09ComIoT 15ComIoT 18ComIoT 19ComIoT 23ComIoT 24ComIoT 60ComFi C16ComFi C21EComFi C22ComFi C23EComFi CG11ComFi MG11ComFi C52ComFi CT52ComFi IX240ComFi W2140ComFi W5800AX3000MComFi W510ComIoT 26ComIoT 27视频专栏资料下载云平台SIM卡流量服务地图

Wi-Fi 7 核心突破:MLO 多链路操作如何重构无线连接架构?

图片

在 Wi-Fi 技术迭代的长河中,Wi-Fi 7(802.11be)的登场绝非简单的速率升级,其核心创新 MLO(多链路操作)更是掀起了一场 MAC 层架构的颠覆性革命。不同于传统 “双频并发” 的表层优化,MLO 通过彻底打破 20 余年 “一个 MAC 对应一个 PHY” 的紧耦合关系,引入 MLD(多链路设备)这一全新逻辑实体,让无线连接的效率、兼容性与灵活性实现了质的飞跃。本文将从协议本质出发,拆解 MLO 的技术内核与实际价值。



01
架构重构:MAC层的“分层协作”革命



MLO 的核心突破在于对 MAC 层的重构,将其划分为上下两层协同工作,既保证了对上层系统的兼容性,又实现了多链路的高效调度。

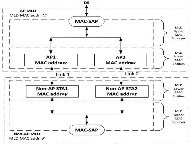
1. 通用参考模型:透明化的多链路管理

对于操作系统或 LLC 层等上层来说,支持 MLO 的设备与普通 Wi-Fi 设备并无二致 —— 这得益于 “单一 MAC-SAP(MAC 服务访问点)” 的设计。整个 MLD 设备仅对外呈现一个 MLD MAC 地址和一个数据接口,上层无需感知底层链路数量与切换逻辑,完美实现了技术升级的 “透明化”,无需对现有软件生态进行改造。

图片


2. 上层MAC:多链路的智能大脑

MLD 上层 MAC 子层是 MLO 的决策核心,负责处理与具体链路无关的共性功能,确保多链路协同的一致性:


  • 统一序号管理:所有链路的数据包共享同一个序列号空间(SNS),彻底解决了多链路传输中的乱序问题,让接收端重排更高效;

  • 全局加密解密:采用统一的密钥(PTKSA)进行安全处理,避免了多链路单独加密导致的密钥同步难题;

  • 分片重组与流量调度:不仅能对大数据包进行统一分片与重组,还能通过 TID-to-Link Mapping(TTLM)机制,将不同优先级的流量分配到合适的链路,实现负载均衡。



3. 下层MAC:链路的“执行四肢”

每个物理链路(如 2.4GHz、5GHz、6GHz)都配备独立的下层 MAC 实体,专门负责与物理层(PHY)的直接交互,聚焦链路级具体操作:


  • 信道接入控制:通过 EDCA 机制完成信道争抢、退避等竞争流程;

  • 链路控制交互:RTS/CTS 握手、ACK 回复等必须在对应链路独立完成,保证链路传输的实时性;

  • 链路管理维护:处理 Beacon 帧、链路特定动作帧等,保障单条链路的稳定运行。


02

设备差异:AP与终端的MLO实现逻辑




MLD 并非 “一刀切” 的设计,AP(路由器端)与 Non-AP(手机、电脑等终端端)的架构的差异,分别适配了不同的使用场景需求。

1. AP MLD:兼容新旧的混合架构

AP 作为无线网络的核心枢纽,需要同时服务 Wi-Fi 7 MLD 终端和 Wi-Fi 6 及更早的传统终端,因此采用 “双路径” 架构:


  • MLD 路径:针对 Wi-Fi 7 终端,数据经上层 MAC 统一加密、调度后,分发至各个隶属 AP(Affiliated AP),通过多链路协同提升传输速率;

  • Legacy 路径:针对传统终端,每个隶属 AP 保留独立的 Non-MLD 上层 MAC 功能,可直接独立服务旧设备,无需经过 MLD 复杂处理,确保兼容性与传输效率兼顾。

图片


2. Non-AP MLD:聚焦省电与漫游的 “轻量架构”

终端设备的核心诉求是低功耗与无缝漫游,因此 Non-AP MLD 设计有明显侧重:


  • 单一认证实体:整个设备仅需一个 IEEE 802.1X 认证请求者,一次认证(4 次握手)即可生成所有链路的密钥(PTK),无需逐频段重复认证,极大简化了连接流程;

  • 轻量化协同:上层 MAC 统一管理所有链路的核心逻辑,下层 MAC 专注链路级执行,在保证多链路优势的同时,最大限度降低功耗,适配移动设备的使用场景。

图片


03

地址与标识:MLO的“通信语言体系”




多链路协同的核心是明确 “谁在通信”“用哪条链路通信”,MLO 通过双重地址体系与 Link ID 标识,构建了清晰的通信规则。


1. 双重 MAC 地址:设备与链路的 “双重身份”
每个 MLD 设备拥有两类 MAC 地址,各司其职:

  • MLD MAC 地址:代表设备整体身份,用于认证、关联阶段及加密密钥生成,是设备在网络中的 “全局标识”;

  • Link MAC 地址对应具体链路的射频实体,用于数据帧的发送者(TA)和接收者(RA)标识,确保底层 ACK 回复等链路级交互的准确性 —— 毕竟实际数据传输发生在具体链路上,必须通过 Link MAC 地址定位。



2. 地址转换规则:确保上下层一致性
为了兼顾上层会话连续性与底层链路传输需求,MLO 制定了严格的地址转换逻辑:

  • 管理帧在 MLD 建立阶段,(Re) Association 请求 / 响应帧的帧体中携带 MLD MAC 地址,而帧头仍使用当前链路的 Link MAC 地址,保证链路连通性;

  • 数据帧:发送时,上层无需修改地址,底层封装时将 TA 替换为发送链路的 Link MAC 地址;接收时,底层驱动会将源地址映射回 MLD MAC 地址,确保上层应用感知不到链路切换。


3. Link ID:链路的 “固定身份证”

AP MLD 会为每个隶属 AP 分配唯一的 Link ID(0-14),其核心特点是 “唯一且静态”—— 只要 AP 不被移除,即便切换信道,Link ID 也保持不变。在流量调度协商、Block Ack 建立、节能设置等场景中,通过 Link ID 位图指代链路,大幅减少了信令开销,提升了交互效率。


04
物理限制与解决方案:STR与NSTR的协同之道



MLO 的多链路并行能力受硬件条件限制,分为 STR 和 NSTR 两种模式,Wi-Fi 7 通过针对性设计突破了物理瓶颈。


1.STR 模式:无干扰的 “并行传输”

当设备硬件隔离度足够(如 2.4GHz 与 5GHz 频段),可支持 STR(同时收发)模式 —— 一条链路发送数据时,另一条链路可同步接收,互不干扰。Wi-Fi 7 要求多链路 AP MLD 必须支持 STR(特殊移动热点模式除外),以保障 AP 的高性能调度能力,充分发挥多链路的并行优势。


2. NSTR 模式:应对干扰的 “同步协同”
当频段间隔过近(如 5.2GHz 与 5.8GHz),设备会因内部干扰陷入 NSTR(非同时收发)模式 —— 一条链路发射时,另一条链路会受干扰无法接收,形成 “NSTR 盲区”。为解决这一问题,Wi-Fi 7 引入 “同步操作” 机制:

  • 同步发送:两条链路必须同时开始传输数据;

  • 同步结束数据包传输结束时间需严格对齐,误差不超过 8µs。这一设计避免了一条链路先发完接收 ACK 时,被另一条链路的发射信号干扰,确保 NSTR 模式下多链路仍能提升传输速率。



Wi-Fi 7 的 MLO 技术并非简单的 “多链路叠加”,而是通过 MAC 层重构、灵活的设备架构、清晰的通信规则与针对性的物理层优化,从本质上提升了无线连接的速率、稳定性与兼容性。它既满足了高清视频、VR/AR、工业物联网等场景对高速率低延迟的需求,又通过向下兼容保护了用户现有设备投资,更通过终端侧的省电设计适配了移动设备的使用需求。随着 Wi-Fi 7 设备的普及,MLO 将成为支撑万物互联时代无线通信的核心技术底座,让 “无缝、高速、稳定” 的无线体验成为常态。
深圳星恒讯科技有限公司
可信赖的联网设备及解决方案合作伙伴
0755-23125215
marketing@movingcomm.com
18077905372
国家高新技术企业
专精特新中小企业
©2026 - 深圳星恒讯 一站式联网解决方案 版权所有
资料下载
法律声明  |
隐私条款  |
网站地图